# 网络协议
# 网络七层协议
- 物理层(网卡): 定义的硬件设备标准,用于计算机之间的数据传输,传输bit流。
- 数据链路层(交换机):数据帧,对bit数据格式化,校验。目的是保障数据传输可靠性
- 网络层(路由选择,点到点):IP寻址,通过IP连接网络上的计算机。
- 传输层(端到端):建立了主机端到端的链接,主要关注tcp、udp。ipv6传输效率高就和这层有关。
- 会话层(会话控制):管理不同设备之间通信。
- 表示层(数据格式转化):对应用层数据编码和数据格式转换,保障不同设备之间通信(windows和linux)。
- 应用层:提供应用接口,为用户直接提供各种网络服务。

# TCP/IP
计算机与网络设备要相互通信,双方就必须基于相同的方法。比如,如何探测到通信目标、由哪一边先发起通信、使用哪种语言进行通信、怎样结束通信等规则都需要事先确定。不同的硬件、操作系统之间的通信,所有的这一切都需要一种规则。而我们就把这种规则称为协议(protocol)。
TCP/IP 是互联网相关的各类协议族的总称,比如:TCP,UDP,IP,FTP,HTTP,ICMP,SMTP 等都属于 TCP/IP 族内的协议。
TCP/IP模型是互联网的基础,它是一系列网络协议的总称。这些协议可以划分为四层,分别为链路层、网络层、传输层和应用层。
- 链路层:负责封装和解封装IP报文,发送和接受ARP/RARP报文等。
- 网络层:负责路由以及把分组报文发送给目标网络或主机。
- 传输层:负责对报文进行分组和重组,并以TCP或UDP协议格式封装报文。
- 应用层:负责向用户提供应用程序,比如HTTP、FTP、Telnet、DNS、SMTP等。

# UDP
UDP协议全称是用户数据报协议,在网络中它与TCP协议一样用于处理数据包,是一种无连接的协议。在OSI模型中,在第四层——传输层,处于IP协议的上一层。UDP有不提供数据包分组、组装和不能对数据包进行排序的缺点,也就是说,当报文发送之后,是无法得知其是否安全完整到达的。
它有以下几个特点:
# 面向无连接
首先 UDP 是不需要和 TCP一样在发送数据前进行三次握手建立连接的,想发数据就可以开始发送了。并且也只是数据报文的搬运工,不会对数据报文进行任何拆分和拼接操作。
具体来说就是:
- 在发送端,应用层将数据传递给传输层的 UDP 协议,UDP 只会给数据增加一个 UDP 头标识下是 UDP 协议,然后就传递给网络层了
- 在接收端,网络层将数据传递给传输层,UDP 只去除 IP 报文头就传递给应用层,不会任何拼接操作
# 有单播,多播,广播的功能
UDP 不止支持一对一的传输方式,同样支持一对多,多对多,多对一的方式,也就是说 UDP 提供了单播,多播,广播的功能。
# UDP是面向报文的
发送方的UDP对应用程序交下来的报文,在添加首部后就向下交付IP层。UDP对应用层交下来的报文,既不合并,也不拆分,而是保留这些报文的边界。因此,应用程序必须选择合适大小的报文
# 不可靠性
首先不可靠性体现在无连接上,通信都不需要建立连接,想发就发,这样的情况肯定不可靠。
并且收到什么数据就传递什么数据,并且也不会备份数据,发送数据也不会关心对方是否已经正确接收到数据了。
再者网络环境时好时坏,但是 UDP 因为没有拥塞控制,一直会以恒定的速度发送数据。即使网络条件不好,也不会对发送速率进行调整。这样实现的弊端就是在网络条件不好的情况下可能会导致丢包,但是优点也很明显,在某些实时性要求高的场景(比如电话会议)就需要使用 UDP 而不是 TCP。

从上面的动态图可以得知,UDP只会把想发的数据报文一股脑的丢给对方,并不在意数据有无安全完整到达。
# 头部开销小,传输数据报文时是很高效的。

UDP 头部包含了以下几个数据:
- 两个十六位的端口号,分别为源端口(可选字段)和目标端口
- 整个数据报文的长度
- 整个数据报文的检验和(IPv4 可选 字段),该字段用于发现头部信息和数据中的错误
因此 UDP 的头部开销小,只有八字节,相比 TCP 的至少二十字节要少得多,在传输数据报文时是很高效的
# TCP
当一台计算机想要与另一台计算机通讯时,两台计算机之间的通信需要畅通且可靠,这样才能保证正确收发数据。例如,当你想查看网页或查看电子邮件时,希望完整且按顺序查看网页,而不丢失任何内容。当你下载文件时,希望获得的是完整的文件,而不仅仅是文件的一部分,因为如果数据丢失或乱序,都不是你希望得到的结果,于是就用到了TCP。
TCP协议全称是传输控制协议是一种面向连接的、可靠的、基于字节流的传输层通信协议,由 IETF 的RFC 793定义。TCP 是面向连接的、可靠的流协议。流就是指不间断的数据结构,你可以把它想象成排水管中的水流。
# TCP连接过程
如下图所示,可以看到建立一个TCP连接的过程为(三次握手的过程):

第一次握手
客户端向服务端发送连接请求报文段。该报文段中包含自身的数据通讯初始序号。请求发送后,客户端便进入 SYN-SENT 状态。
第二次握手
服务端收到连接请求报文段后,如果同意连接,则会发送一个应答,该应答中也会包含自身的数据通讯初始序号,发送完成后便进入 SYN-RECEIVED 状态。
第三次握手
当客户端收到连接同意的应答后,还要向服务端发送一个确认报文。客户端发完这个报文段后便进入 ESTABLISHED 状态,服务端收到这个应答后也进入 ESTABLISHED 状态,此时连接建立成功。
这里可能大家会有个疑惑:为什么 TCP 建立连接需要三次握手,而不是两次?这是因为这是为了防止出现失效的连接请求报文段被服务端接收的情况,从而产生错误。

# TCP断开链接

TCP 是全双工的,在断开连接时两端都需要发送 FIN 和 ACK。
第一次握手
若客户端 A 认为数据发送完成,则它需要向服务端 B 发送连接释放请求。
第二次握手
B 收到连接释放请求后,会告诉应用层要释放 TCP 链接。然后会发送 ACK 包,并进入 CLOSE_WAIT 状态,此时表明 A 到 B 的连接已经释放,不再接收 A 发的数据了。但是因为 TCP 连接是双向的,所以 B 仍旧可以发送数据给 A。
第三次握手
B 如果此时还有没发完的数据会继续发送,完毕后会向 A 发送连接释放请求,然后 B 便进入 LAST-ACK 状态。
第四次握手
A 收到释放请求后,向 B 发送确认应答,此时 A 进入 TIME-WAIT 状态。该状态会持续 2MSL(最大段生存期,指报文段在网络中生存的时间,超时会被抛弃) 时间,若该时间段内没有 B 的重发请求的话,就进入 CLOSED 状态。当 B 收到确认应答后,也便进入 CLOSED 状态。
# TCP协议的特点
面向连接
面向连接,是指发送数据之前必须在两端建立连接。建立连接的方法是“三次握手”,这样能建立可靠的连接。建立连接,是为数据的可靠传输打下了基础。
仅支持单播传输
每条TCP传输连接只能有两个端点,只能进行点对点的数据传输,不支持多播和广播传输方式。
- 面向字节流
TCP不像UDP一样那样一个个报文独立地传输,而是在不保留报文边界的情况下以字节流方式进行传输。
可靠传输
对于可靠传输,判断丢包,误码靠的是TCP的段编号以及确认号。TCP为了保证报文传输的可靠,就给每个包一个序号,同时序号也保证了传送到接收端实体的包的按序接收。然后接收端实体对已成功收到的字节发回一个相应的确认(ACK);如果发送端实体在合理的往返时延(RTT)内未收到确认,那么对应的数据(假设丢失了)将会被重传。
提供拥塞控制
当网络出现拥塞的时候,TCP能够减小向网络注入数据的速率和数量,缓解拥塞
- TCP提供全双工通信
TCP允许通信双方的应用程序在任何时候都能发送数据,因为TCP连接的两端都设有缓存,用来临时存放双向通信的数据。当然,TCP可以立即发送一个数据段,也可以缓存一段时间以便一次发送更多的数据段(最大的数据段大小取决于MSS)
# 三次握手,四次挥手

# TCP和UDP的比较
# 对比
| UDP | TCP | |
|---|---|---|
| 是否连接 | 无连接 | 面向连接 |
| 是否可靠 | 不可靠传输,不使用流量控制和拥塞控制 | 可靠传输,使用流量控制和拥塞控制 |
| 连接对象个数 | 支持一对一,一对多,多对一和多对多交互通信 | 只能是一对一通信 |
| 传输方式 | 面向报文 | 面向字节流 |
| 首部开销 | 首部开销小,仅8字节 | 首部最小20字节,最大60字节 |
| 适用场景 | 适用于实时应用(IP电话、视频会议、直播等) | 适用于要求可靠传输的应用,例如文件传输 |
# 总结
- TCP向上层提供面向连接的可靠服务 ,UDP向上层提供无连接不可靠服务。
- 虽然 UDP 并没有 TCP 传输来的准确,但是也能在很多实时性要求高的地方有所作为
- 对数据准确性要求高,速度可以相对较慢的,可以选用TCP
# HTTP
HTTP(HyperText Transfer Protocol:超文本传输协议)是一种用于分布式、协作式和超媒体信息系统的应用层协议。 简单来说就是一种发布和接收 HTML 页面的方法,被用于在 Web 浏览器和网站服务器之间传递信息。
HTTP 默认工作在 TCP 协议 80 端口,用户访问网站 http:// 打头的都是标准 HTTP 服务。
HTTP 协议以明文方式发送内容,不提供任何方式的数据加密,如果攻击者截取了Web浏览器和网站服务器之间的传输报文,就可以直接读懂其中的信息,因此,HTTP协议不适合传输一些敏感信息,比如:信用卡号、密码等支付信息。
# HTTPS
HTTPS(Hypertext Transfer Protocol Secure:超文本传输安全协议)是一种透过计算机网络进行安全通信的传输协议。HTTPS 经由 HTTP 进行通信,但利用 SSL/TLS 来加密数据包。HTTPS 开发的主要目的,是提供对网站服务器的身份认证,保护交换数据的隐私与完整性。
HTTPS 默认工作在 TCP 协议443端口,它的工作流程一般如以下方式:
- 1、TCP 三次同步握手
- 2、客户端验证服务器数字证书
- 3、DH 算法协商对称加密算法的密钥、hash 算法的密钥
- 4、SSL 安全加密隧道协商完成
- 5、网页以加密的方式传输,用协商的对称加密算法和密钥加密,保证数据机密性;用协商的hash算法进行数据完整性保护,保证数据不被篡改。
# HTTP 与 HTTPS 区别
- HTTP 明文传输,数据都是未加密的,安全性较差,HTTPS(SSL+HTTP) 数据传输过程是加密的,安全性较好。
- 使用 HTTPS 协议需要到 CA(Certificate Authority,数字证书认证机构) 申请证书,一般免费证书较少,因而需要一定费用。证书颁发机构如:Symantec、Comodo、GoDaddy 和 GlobalSign 等。
- HTTP 页面响应速度比 HTTPS 快,主要是因为 HTTP 使用 TCP 三次握手建立连接,客户端和服务器需要交换 3 个包,而 HTTPS除了 TCP 的三个包,还要加上 ssl 握手需要的 9 个包,所以一共是 12 个包。
- http 和 https 使用的是完全不同的连接方式,用的端口也不一样,前者是 80,后者是 443。
- HTTPS 其实就是建构在 SSL/TLS 之上的 HTTP 协议,所以,要比较 HTTPS 比 HTTP 要更耗费服务器资源。
# TCP 三次握手
在TCP/IP协议中,TCP协议通过三次握手建立一个可靠的连接

- 第一次握手:客户端尝试连接服务器,向服务器发送 syn 包(同步序列编号Synchronize Sequence Numbers),syn=j,客户端进入 SYN_SEND 状态等待服务器确认
- 第二次握手:服务器接收客户端syn包并确认(ack=j+1),同时向客户端发送一个 SYN包(syn=k),即 SYN+ACK 包,此时服务器进入 SYN_RECV 状态
- 第三次握手:第三次握手:客户端收到服务器的SYN+ACK包,向服务器发送确认包ACK(ack=k+1),此包发送完毕,客户端和服务器进入ESTABLISHED状态,完成三次握手
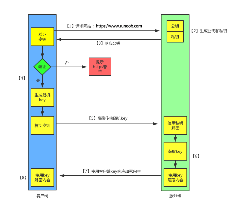
# HTTPS 的工作原理
我们都知道 HTTPS 能够加密信息,以免敏感信息被第三方获取,所以很多银行网站或电子邮箱等等安全级别较高的服务都会采用 HTTPS 协议。

1、客户端发起 HTTPS 请求
这个没什么好说的,就是用户在浏览器里输入一个 https 网址,然后连接到 server 的 443 端口。
2、服务端的配置
采用 HTTPS 协议的服务器必须要有一套数字证书,可以自己制作,也可以向组织申请,区别就是自己颁发的证书需要客户端验证通过,才可以继续访问,而使用受信任的公司申请的证书则不会弹出提示页面(startssl 就是个不错的选择,有 1 年的免费服务)。
这套证书其实就是一对公钥和私钥,如果对公钥和私钥不太理解,可以想象成一把钥匙和一个锁头,只是全世界只有你一个人有这把钥匙,你可以把锁头给别人,别人可以用这个锁把重要的东西锁起来,然后发给你,因为只有你一个人有这把钥匙,所以只有你才能看到被这把锁锁起来的东西。
3、传送证书
这个证书其实就是公钥,只是包含了很多信息,如证书的颁发机构,过期时间等等。
4、客户端解析证书
这部分工作是有客户端的TLS来完成的,首先会验证公钥是否有效,比如颁发机构,过期时间等等,如果发现异常,则会弹出一个警告框,提示证书存在问题。
如果证书没有问题,那么就生成一个随机值,然后用证书对该随机值进行加密,就好像上面说的,把随机值用锁头锁起来,这样除非有钥匙,不然看不到被锁住的内容。
5、传送加密信息
这部分传送的是用证书加密后的随机值,目的就是让服务端得到这个随机值,以后客户端和服务端的通信就可以通过这个随机值来进行加密解密了。
6、服务端解密信息
服务端用私钥解密后,得到了客户端传过来的随机值(私钥),然后把内容通过该值进行对称加密,所谓对称加密就是,将信息和私钥通过某种算法混合在一起,这样除非知道私钥,不然无法获取内容,而正好客户端和服务端都知道这个私钥,所以只要加密算法够彪悍,私钥够复杂,数据就够安全。
7、传输加密后的信息
这部分信息是服务段用私钥加密后的信息,可以在客户端被还原。
8、客户端解密信息
客户端用之前生成的私钥解密服务段传过来的信息,于是获取了解密后的内容,整个过程第三方即使监听到了数据,也束手无策。